【语文】长郡学子在第十九届“叶圣陶杯”全国中学生作文大赛决赛中获得佳绩
我校学子在第十九届“叶圣陶杯”全国中学生作文大赛决赛中斩获佳绩!
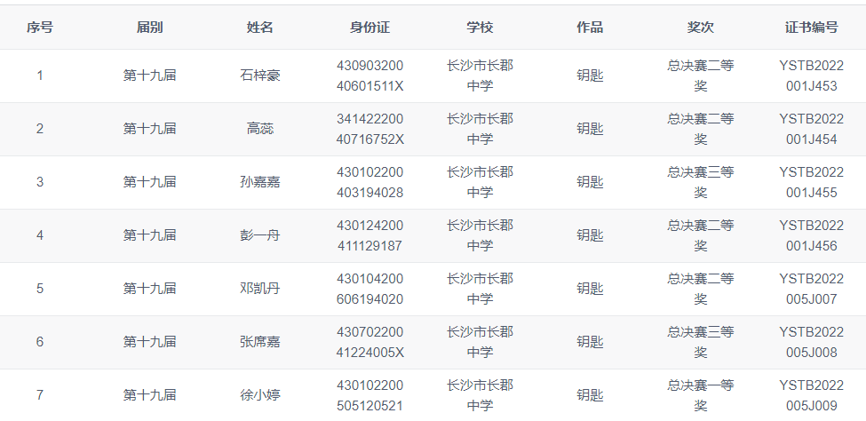
“桐花万里丹山路,雏凤清于老凤声?!痹诘谑沤臁耙妒ヌ毡比醒伦魑拇笕跞锥危3跗?,组委会复评、终评,我校共有15名同学获得省级一等奖,52名同学获得省级二等奖,75名同学获得省级三等奖。其中,共有八位同学进入决赛。因为新冠疫情的影响,本届全国总决赛采取了线上写作的形式,命题限时写作,共有5900多名选手参加。经过激烈角逐,我校七名同学荣获决赛奖励。其中,决赛一等奖一位,决赛二等奖四位,决赛三等奖两位。
叶圣陶杯是教育部批准举办的全国性竞赛活动,全称为“叶圣陶杯全国中学生新作文大赛”。是全国主办单位级别较高、专家评委权威和社会影响力最大的作文赛事之一。


文字图片编辑:焦子薇
分享到:

用户登录